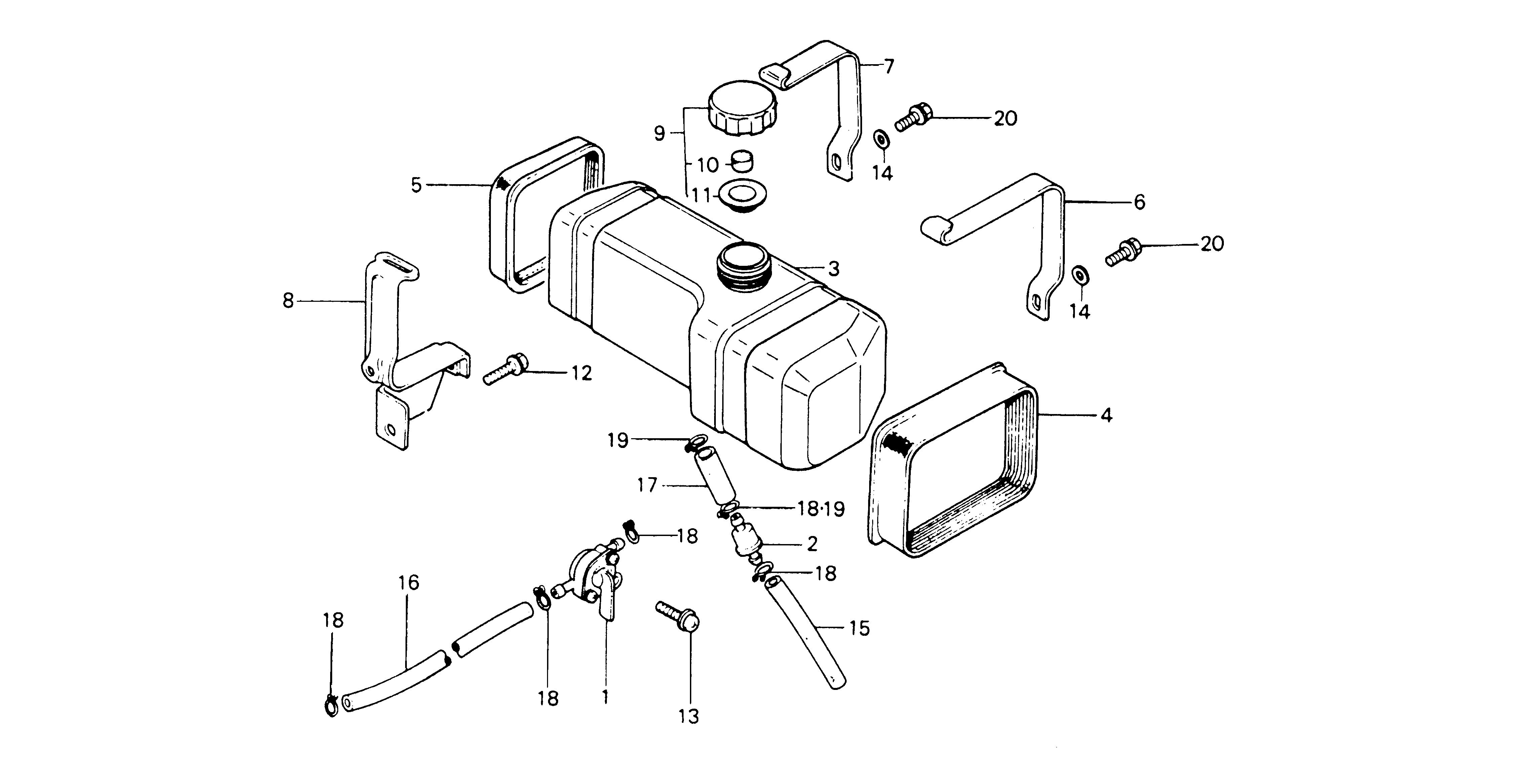
Ref No
Part Number
Description
Serial Range
Qty
Price
Ref No 1
Part Number 16950-894-005
Description PETCOCK ASSY. (NOT AVAILABLE)
Serial Range 3176995 - 9999999
Ref No 2
Part Number 16910-GB2-005
Description STRAINER, FUEL
Serial Range 1095066 - 9999999
Ref No 2
Part Number 16952-952-003
Description FILTER, FUEL
Serial Range 1000001 - 1095065
Qty
Price $16.64
Add To Cart
Ref No 3
Part Number 17510-960-650
Description TANK, FUEL (NOT AVAILABLE)
Serial Range 1095066 - 9999999
Ref No 4
Part Number 17515-894-000
Description RUBBER A, FUEL TANK MOUNTING (NOT AVAILABLE)
Serial Range 1000001 - 9999999
Ref No 5
Part Number 17516-894-000
Description RUBBER B, FUEL TANK MOUNTING (NOT AVAILABLE)
Serial Range 1000001 - 9999999
Ref No 6
Part Number 17518-894-000
Description BAND A, TANK MOUNTING (NOT AVAILABLE)
Serial Range 1000001 - 9999999
Ref No 7
Part Number 17519-894-000
Description BAND B, TANK MOUNTING (NOT AVAILABLE)
Serial Range 1000001 - 9999999
Ref No 8
Part Number 17525-894-000
Description STAY B, TANK
Serial Range 1000001 - 9999999
Qty
Price $30.40
Add To Cart
Ref No 9
Part Number 17620-888-010
Description CAP ASSY., FUEL TANK
Serial Range 1000001 - 1088409
Ref No 9
Part Number 17620-888-020
Description CAP ASSY., FUEL TANK
Serial Range 1088410 - 9999999
Ref No 10
Part Number 17622-888-010
Description SPONGE, FUEL CAP BREATHER
Serial Range 1088410 - 9999999
Qty
Price $1.92
Add To Cart
Ref No 11
Part Number 17624-355-010
Description GASKET, FUEL CAP
Serial Range 1000001 - 1072213
Ref No 11
Part Number 17624-896-750
Description GASKET, FUEL CAP (NOT AVAILABLE)
Serial Range 1072214 - 9999999
Ref No 12
Part Number 90013-883-000
Description BOLT, FLANGE (6X12) (CT200)
Serial Range 1072214 - 9999999
Ref No 13
Part Number 93891-05012-08
Description SCREW-WASHER (5X12)
Serial Range 1000001 - 9999999
Qty
Price $1.40
Add To Cart
Ref No 14
Part Number 94103-06000
Description WASHER, PLAIN (6MM)
Serial Range 1000001 - 9999999
Qty
Price $1.20
Add To Cart
Ref No 15
Part Number 95001-45003-60M
Description BULK HOSE, FUEL (4.5X3000) (95001-450(95001-45001-60M) (4.5X115)
Serial Range 1095066 - 9999999
Qty
Price $51.76
Add To Cart
Ref No 15
Part Number 95001-45003-60M
Description BULK HOSE, FUEL (4.5X3000) (4.5X195)
Serial Range 1095066 - 9999999
Qty
Price $51.76
Add To Cart
Ref No 16
Part Number 95001-45003-60M
Description BULK HOSE, FUEL (4.5X3000) (95001-450(95001-45001-60M) (4.5X115)
Serial Range 1095066 - 9999999
Qty
Price $51.76
Add To Cart
Ref No 16
Part Number 95001-45003-60M
Description BULK HOSE, FUEL (4.5X3000) (4.5X195)
Serial Range 1095066 - 9999999
Qty
Price $51.76
Add To Cart
Ref No 17
Part Number 17512-894-000
Description TUBE, FUEL (NOT AVAILABLE)
Serial Range 1095066 - 9999999
Ref No 17
Part Number 95001-55003-60M
Description BULK HOSE, FUEL (5.5X3000) (5.3X40)
Serial Range 1000001 - 1095065
Qty
Price $66.80
Add To Cart
Ref No 18
Part Number 95002-02080
Description CLIP, TUBE (B8)
Serial Range 1000001 - 1095065
Qty
Price $2.20
Add To Cart
Ref No 19
Part Number 95002-02100
Description CLIP, TUBE (B10)
Serial Range 1000001 - 1095065
Qty
Price $2.32
Add To Cart
Ref No 20
Part Number 95701-06012-08
Description BOLT, FLANGE (6X12)
Serial Range 1095066 - 9999999
Qty
Price $2.04
Add To Cart